Задать вопрос

Задать вопрос о продукте:

Имя: E-mail: Вопрос:
Задать вопрос
Ваш вопрос отправлен. Мы свяжемся с Вами в ближайшее время. Пожалуйста, заполните все поля. Некорректный адрес E-Mail. Произошла ошибка. Повторите попытку позже.

Systemair SSG/F 500-560

Купить Systemair SSG/F 500-560

Цена
$0
Артикул: 309946
Количество
Заказ по телефону
+7 (495)-649-67-66

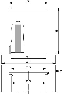
Крышный шумоглушитель SSG/F 500-560 socket silencer

Крышный шумоглушитель SSG/F 500-560 используется в случаях, когда предъявляются повышенные требования по уровню шума на притоке. Шумоглушитель предназначен для монтажа на плоские крыши. Звукопоглощение составляет 8 дБ при 250 Гц. SSG/F изготавливается из алюцинковой листовой стали, изоляция из минеральной ваты с текстильной прокладкой. Изоляция на боковых стенках толщиной 40 мм защищена дополнительной металлической решеткой. Гушители поставляются в комплекте с гайками на дне для присеодинения к другим элементам. В поставку входят высокотемпературные прокладки для установки между гушителем и вентилятором. Звукопоглощающий материал устойчив к износу при скорости воздушного потока до 20 м/сек.

Технические данные:
Наименование продукции - SSG/F 500-560
Артикул (код) - 309946
Толщина изоляции - 40 мм
Форма - Квадратная   
Длина - 874 мм   
Мат. корпуса - сталь   
Изоляция - мин. вата с текстильной прокладкой   

Другое:
Вес - 72 кг

  • Доставка нужной вам транспортной компанией

  • Удобная оплата

Товар добавлен в корзину

Закрыть
Закрыть
×

Заказать обратный звонок

55,52,51,49,56,55,49,102,102,102,98,98,54,97,57,54,56,99,54,57,102,52,50,52,102,98,99,53,97,48,101,51
Нажимая на кнопку, вы даете согласие на обработку своих
персональных данных и соглашаетесь с политикой конфиденциальности
Спасибо за оставленную заявку!
Наш оператор свяжется с вами в ближайшее время