Задать вопрос

Задать вопрос о продукте:

Имя: E-mail: Вопрос:
Задать вопрос
Ваш вопрос отправлен. Мы свяжемся с Вами в ближайшее время. Пожалуйста, заполните все поля. Некорректный адрес E-Mail. Произошла ошибка. Повторите попытку позже.

SYSTEMAIR DVV 800D4-K/120°C+REV (снят с производства)

Купить SYSTEMAIR DVV 800D4-K/120°C+REV (снят с производства)

Цена
0
Артикул: 3630
Количество
Заказ по телефону
+7 (495)-649-67-66

Крышные вентиляторы  DVV 800D4-8-K/120°C+REV

Преимущества:
- Электродвигатель вынесен из потока перемещаемого воздуха
- Максимальная температура перемещаемой среды 120°C
- Вертикальный выброс воздуха
- Подходят для использования на морском побережье
- Широкий ассортимент принадлежностей
- Энергоэффективный двигатель класса
- Встроенный термистор (PTC)

Рекомендации по применению:

Модификации вентиляторов DVV 800D4-8-K/120°C+REV предназначены для удаления высокотемпературного вытяжного воздуха, например, из кухонных помещений.

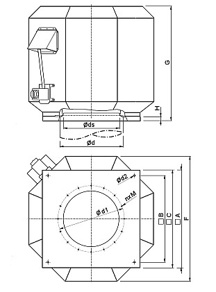
Конструкция:
Корпус вентилятора имеет восьмиугольную форму и выполнен из алюминия (корпус 4-х полюсных 1000-М и Р моделей - из стали с алюцинковым покрытием), рама основания - из оцинкованной стали. DVV 800D4-8-K/120°C+REV оборудованы электродвигателем, вынесенным из потока перемещаемого воздуха и рабочим колесом с загнутыми назад лопатками. Рабочее колесо моделей, предназначенных для эксплуатации при 120°С, выполнено из оцинкованной стали.

Двигатель:
Энергоэффективный двигатель  расположен в герметичном теплоизолированном отсеке, вне воздушного потока. Класс защиты двигателя IP54, клас изоляции F. Двигатель имеет встроенный термистор (РТС) с выводами на внешнее устройство защиты от перегрева.

Регулирование скорости:

Скорость вентиляторов DVV 800D4-8-K/120°C+REV регулируется с помощью частотного преобразователя. Скорость 2-х скоростных двигателей регулируется переключением полюсов.

Технические данные:
Наименование продукции -  DVV 800D4-K/120°C+REV
Код (Артикул) - 3630
Напряжение - 400 В
Подключение - YY         
Частота - 50 Гц
Фазность - 3 ~
Энергопотребление (P1) - 11290 Вт
Ток - 18.5 A
Пусковой ток - 114 A
Макс. расход воздуха - 25500 м³/ч
Частота вращения - 1420 (1/мин)
Макс. температура перемещаемого воздуха - 120 °C
Уровень звукового давления на расстоянии 4м - 76 дБ(А)
Уровень звукового давления на расстоянии 10м - 70 дБ(А)
Класс изоляции двигателя - F     
Класс защиты двигателя - 55 IP

Другое:

Вес - 243 кг

  • Доставка нужной вам транспортной компанией

  • Удобная оплата

Товар добавлен в корзину

Закрыть
Закрыть
×

Заказать обратный звонок

55,52,51,49,56,55,49,102,102,102,98,98,54,97,57,54,56,99,54,57,102,52,50,52,102,98,99,53,97,48,101,51
Нажимая на кнопку, вы даете согласие на обработку своих
персональных данных и соглашаетесь с политикой конфиденциальности
Спасибо за оставленную заявку!
Наш оператор свяжется с вами в ближайшее время